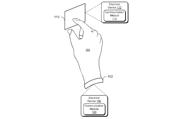
For those who never knew, the human body is capable of generating electricity, but we never quite thought of it as a data transmission channel like this Microsoft patent application suggests. Based on the document submitted, the guys at Microsoft would like to be able to transfer information from
one electronic device to another with a simple touch, as seen in the image below.

Although it all sounds a little freaky, the filing goes on to suggest a few practical uses. For example Instead of swiping a credit card or showing ID, you could use your own flesh to authenticate the purchase of goods or services. Also the ability to share contact information with someone just by shaking his or her hand, so long as he or she was also wearing a similar electronic device is another example. Click the source below if you want to know more about this patent.

